
产品名称:PY-DZ200-1栅栏道闸
产品概术:我司专业生产一体化智能道闸,采用国际领先技术设计制造,实现了道闸运行的自动化、智能化,使用安全、方便、快捷。
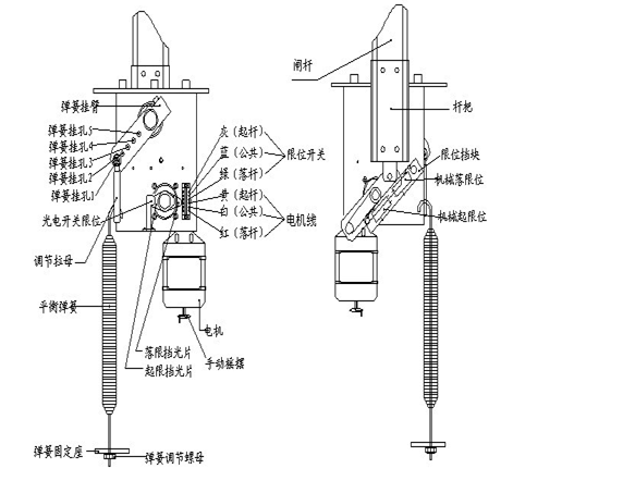
道闸机芯示图:

主要功能:
1.本机采用全无线控制方法,即安全又方便,您只要将接入220V电源和将外壳保护接地,就即可进入工作状态,避免繁杂的布线、配线工作。
2.采用特殊平衡机构设计,铝波箱连体,使闸杆慢起动,快动行,慢停止,使整机芯低噪音,散热快,运行平稳耐用,无惯性等特点
3.该道闸具备多种接口,您可接入车辆检测器(地感)、红外对射等附件,随满足道闸安全方面的要求,也可接入收费系统实现自动管理(需选配)
产品特点:
1.特殊转动结构,无齿轮、无皮带转动,无需保养,使用稳定,寿命更长久.
2..特殊设计的平衡结构,使闸杆慢起动,快运行,慢停止,
3.排除了闸杆运行带来的抖动。
4.闸杆持续90度运行,排除故障而带来360度运转的意外发生。
5.特殊设计低速铝外壳电机,波箱连体设计,低噪音,散热快。
6.驱动机构设计智能过热保护系统,在频繁使用下,控制马达的温升,使马达不易烧坏。
1.特殊转动结构,无齿轮、无皮带转动,无需保养,使用稳定,寿命更长久.
2..特殊设计的平衡结构,使闸杆慢起动,快运行,慢停止,
3.排除了闸杆运行带来的抖动。
4.闸杆90度运行,排除故障而带来360度运转的意外发生。
5.特殊设计低速铝外壳电机,波箱连体设计,低噪音,散热快。
6.驱动机构设计智能过热保护系统,在频繁使用下,控制马达的温升,使马达不易烧坏。
1.工作电压:AC220V±10%50HZ AC110V±10%50HZ/60HZ
2.工作环境温度:-40℃~85℃
3.定额公率:70W/150W
4.相对温度:≥90%
安全注意事项
1.道闸在工作时,严禁打开箱盖和箱门以免发生人身意外事故。
2.道闸在出厂前已将箱内布好线,一般情况下用户不得更改,只需要接入220V电源即可工作。
3.提供本机的电源必须加装≥15A漏电断电器。
4.落杆时禁止在挡杆摆放物品或有人站立、行走.
5.停电时,应先关闭电源后用手把手动摇摆旋至闸杆在垂直位置。
6 . 产品出厂时,已将挡杆长度与平衡弹簧调到最佳状态,不得随意增加或减少挡杆的长度与重量,以免失去平衡发生危险。如需要更改必须请专业人员操作。
7.机械开关限位和光电开关限位在出厂前已调到最佳状态,不得随意调动
调试方法:
1.平衡调节:道闸出厂时已根据该道闸的挡杆长度和挡杆重量将弹簧调整到了平衡状态无特殊情况不得改变挡杆长度和重量,否则必须经过专业人员调整重新建立平衡。
2.如遇到起落杆时有抖动,调将弹簧稍微调节,起杆抖动就是弹簧力过大稍微把弹簧放松几圈,如落杆抖动请将弹簧拧紧几圈调到最佳状态。
3.最好参照弹簧选配表:
弹簧 | 闸杆长度 (单位:m) | 备注 | |
线经 | 挂孔位置 | 如果杆不平衡可调节拉杆 螺母 | |
6.5mm | 挂孔1 | 6.1~6.5 | |
挂孔2 | 5.6~6 | ||
6mm | 挂孔1 | 5.1~5.5 | |
挂孔2 | 4.6~5 | ||
5mm | 挂孔1 | 4.1~4.5 | |
挂孔2 | 3~4 | ||
4mm | 挂孔1 | 2.5~3 | |
挂孔2 | 2.5以下 | ||
机主要安装主法
1.在安装道闸前,要选好安装位置,应该根据以下三方面来选择:
1)易显眼处;
2)杆面朝内(路口内 )
3)主机箱体底面应与地同处一平面。
4)当确定好位置后,根据现场情况做好道闸基础,非混凝土地面的要现场浇基础。随后把道闸放上去放正用螺丝刀在箱底做记号打孔将机箱固定稳
2.箱体安装方法(见图1)
1)拆开打包箱内取随机配的附件;
2)把机箱放置预安装位置,打开箱门,用螺丝按机箱底固定孔做记號,再把机箱取出来用冲击钻打好孔,孔深90mm~100mm,
再用锤子锤膨账螺栓,调好机箱拧螺母。(下图1)

档杆按装:(见图)
机箱安装完毕,即可安装步骤如下:
1.把挡杆盖板放对挡杆的孔位螺丝穿上,再用一只手把挡杆和挡杆盖板压上,
2.另一只手撑住挡杆放入到闸的杆把上。拧紧螺丝即可通上电源使用。(如下图所示)
)

限位调节(见图)
一般出厂前以把限位调到最状态,没特殊情况不得去动,如果遇到特殊环境,需要调节,请把杆停到需要的位置,用开螺丝刀松开挡光片螺丝再用手轻微移动到
灯亮即可,红灯为落杆限位,绿灯为起杆限位。(如下图)

停电应急(见图)
如果在遇到停电闸杆落在水平或中间应用一只手把闸杆往上顶
一只手去摇动手动遥摆,摇到杆放到垂直,来电即可正常工作。(如下图所示)

常见的事故及处理:
常见故障 | 故障分析 | 故障排除 |
电机运转时但闸 杆无反应 | 1. 电源是否接好 2. 各限位接口是否正确连接 3. 电容是否接上 . | 1.将电源线接上。 2.限位线从电机出来的线为 灰(起)蓝(公共)绿(落) 再正确连接到电控板上。 3把电容的两条与电机起落线 拼接。. |
在落杆过程中闸 杆抖动 | 1.弹簧不平衡 2.闸杆螺丝没锁紧 3.机箱没固定好 | 1.请参照弹簧表更换弹簧,再 把弹簧调到最佳状态, 2.将闸杆螺丝锁紧。 3.将机箱固定地脚螺丝拧紧 |
闸杆落到中间会 停止 | 1. 限位没调好 2. 弹簧没力 | 1. 检查限位线将它正确接上 (详见接线图) 2. 更换弹簧 |
不能防砸
| 1. 地感、红外线坏或线没正 确接上 | 1.更换新地感、红外设备,仔 细按接线图连接。 |
起落闸杆不平
|
1 .限位没调好
| 1.将闸杆落到水平或垂直 位置把挡光片放到光电限 位开关中间,感应到灯亮 即可,红灯为落杆到位, 绿灯为起杆到位。 |
保修事项:
本机保修一年,保修期内出现品质问题免费保修,保修期外适当回收成本费用(注不可抗拒的自然灾害和人为为损坏不在保修范围)
道闸装箱清单:
序号 | 名称 | 数量 |
1 | 道闸机 | 1 台 |
2 | 挡杆 | 1根 |
3 | 挡杆盖板 | 1块 |
4 | 挡杆固定螺栓 | 4个 |
5 | 主控制系统(已装在机箱内) | 1套 |
6 | 手制遥控器 | 2只 |
7 | 支架(选配) | 1根 |
8 | 锁匙 | 2把 |
9 | 说明书 | 1本 |
10 | 合格证 | 1 张 |